G型鑄鐵單螺桿泵



【G型單螺桿泵】型號意義
【G型單螺桿泵】工作原理與特性
G型單螺桿泵是按迥轉嚙合容積式原理工作的新型泵種。主要工作部件是偏心螺桿(轉子)和固定的襯套(定子)。由于該部件的特殊幾何開頭分別形成單獨的密封容腔。介質由軸向均勻推行流動。內部流速代低,容積保持不變。壓力穩定,因而不會產品渦流和攪動。 單螺桿泵被廣泛用于各行業輸送各類介質,恒壓連續運行,無脈動,介質輸送無破損,通過調節轉速改變流量從而達到計量的目的。本產品適合輸送具有以下特性的介質:固體含量高(Z大粒徑可達150mm)或無固體含量|各種粘度(1mPas-3百萬mPas)的介質|觸變性和易膨脹性介質|剪切敏感性介質|磨蝕性介質|有/無自潤滑性的介質|腐蝕性介質(pH=O-14)|粘結性介質|有毒性介質|流量大、壓力高·流量范圍從每小時幾毫升到500m3(2200gpm)·壓力范圍Z高可達48bar,特殊設計可達72bar。同一種傳動部件可與四種不同設計的轉子/定子匹配,為您提供Z佳使用方案。
針對不同的應用領域,選用不同的金屬材料,從鑄鐵、鎳鉻鋼到耐酸材料、哈氏合金及鈦合金。彈性材料可選用耐磨的、耐油的、耐酸的、耐堿的橡膠,如天然橡膠、丁晴橡膠、乙丙橡膠及氟橡膠等。對磨蝕性強的介質,可選用陶瓷或塑料。當介質因高溫或含有某些化學成分而不能選用彈性材料時,可選用硬材質定子或剛性定子。各種軸封形式:按客戶的要求,機械密封從單端面機封(帶或不帶急冶)、雙端面機封(背靠背式及串聯式機械密封)到盒式密封;也可選用填料密封、水封環及特殊密封。對有毒介質可提供無泄漏磁力傳動。
【G型單螺桿泵】性能特點
·Z高吸上高度可6米水柱
·可雙向旋轉,雙向輸送(需配備反轉定子)
·安裝方式靈活.
·運行順暢、平穩、噪音低、無脈動、無剪切
·輸送介質溫度范圍-20℃~+150℃
·單螺桿泵零件少,結構緊湊,體積小,維修簡便,轉子和定子是本泵的易損件,結構簡單,便于裝拆。傳動可采用聯軸器直接傳動,或采用調速電機,三角帶,變速箱等裝置變速。海坦泵業是制造、設計、生產單螺桿泵的專業廠家。不同的螺桿泵其具體使用場合亦有所不同。
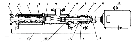
【G型單螺桿泵】結構圖
|
1 |
出料口 |
4 |
螺桿軸 |
7 |
連節軸 |
10 |
軸承座 |
13 |
連軸器 |
16 |
傳動軸 |
|
2 |
拉桿 |
5 |
萬向節總成 |
8 |
填料座 |
11 |
軸承蓋 |
14 |
軸套 |
17 |
底座 |
|
3 |
定子 |
6 |
吸入口 |
9 |
填料壓蓋 |
12 |
電動機 |
15 |
軸承 |
|
|
【G型單螺桿泵】主要用途
1、環境保護:工業污水、生活污水、含有固體顆粒及短纖維的污泥濁水的輸送。特別適用于油水分離器,板框壓濾機等設備。
2、船舶工業:輪底清洗、油水、油渣、油污水等介質的輸送。
3、石油工業:輸送原油。近年來,尤其成功地抽吸地下千米之深的原油與水的混合物,煤田里的煤田氣和水的混合物,從而大大降低了機械采油、采煤田氣的成本。當油田到了后期,使用螺桿泵往地層內灌注聚合物增加油田采收率。
4、醫藥、日化:各種粘調漿、乳化液、各種軟膏化裝品等的輸送。
5、食品罐頭業:各種粘稠淀粉、食油、蜂密、糖醬、果漿、奶油、魚糜肉糜以及其下腳料的輸送。
6、釀造業:各種發酵粘稠液、濃酒槽、糧食制品渣各種醬類、漿和含有塊關固態物的粘液等。
7、建筑工業:水泥沙漿、石灰漿、涂料及其經糊狀體的噴涂與輸送。
8、采礦工業:礦井內的含固體顆粒的地下和污漿水等排送到地面。
9、化學工業:各種懸浮液、油脂、各種膠體漿、各種粘合劑。
10、印刷、造紙工業:高粘度油墨、墻紙的PVC高分子塑料糊和各種濃度的紙漿,短纖維漿料的輸送。
【G型單螺桿泵】使用注意事項
1、開機前必先確定運轉方向,不得反轉。
2、嚴禁在無介質情況下空運轉,以免損壞定子。
3、新安裝或停機數天后的泵,不能立即起動,應先向泵體內注入適量機油,再用管子鉗板動幾轉后才可起動。
4、輸送高粘度或含顆粒及腐蝕性的介質后,應用水或深劑進行沖洗,防止阻塞,以免下次起動困難。
5、冬季應排除積液,防止凍裂。
6、使用過程中軸承箱內應定期加潤滑油,發現軸端有滲流時,要及時處理或調換油封。
7、在運行中如發生異常情況,應立即停車檢查原因,排除故障。
【G型單螺桿泵】故障原因及排除方法
|
故障 |
原因 |
排除方法 |
|
1、泵不能起動 |
a、新泵轉、定子配合過緊 |
a、用工具人力幫助轉動幾圈 |
|
2、泵不出液 |
a、旋轉方向不對 |
a、調整方向 |
|
3、流量達不到 |
a、管路泄漏 |
a、檢查修理管路 |
|
4、壓力達不到 |
a、轉子、定子磨損 |
a、更換轉、定子 |
|
5、電機過熱 |
a、電機故障 |
a、檢查電機、電壓、電流、電頻 |
|
6、流量壓力急劇下降 |
a、管道突然堵塞或泄漏 |
參照以下幾項,逐項排除 |
|
7、軸密封處大量泄漏液體 |
a、軟填料磨損 |
a、壓緊或更換填料 |
|
型 號 |
轉速 |
流量 |
壓力 |
電機 |
揚程 |
進口 |
出口 |
允許顆粒直徑 |
允許維修長度 |
|
G20-1 |
960 |
0.8 |
0.6 |
0.75 |
60 |
25 |
25 |
1.5 |
25 |
|
G25-1 |
960 |
2 |
0.6 |
1.5 |
60 |
32 |
25 |
2 |
30 |
|
G25-2 |
960 |
2 |
1.2 |
2.2 |
120 |
32 |
25 |
2 |
30 |
|
G30-1 |
960 |
5 |
0.6 |
2.2 |
60 |
50 |
40 |
2.5 |
35 |
|
G30-2 |
960 |
5 |
1.2 |
3.0 |
120 |
50 |
40 |
2.5 |
35 |
|
G35-1 |
960 |
8 |
0.6 |
3.0 |
60 |
65 |
50 |
3 |
40 |
|
G35-2 |
960 |
8 |
1.2 |
4.0 |
120 |
65 |
50 |
3 |
40 |
|
G40-1 |
960 |
12 |
0.6 |
4.0 |
60 |
80 |
65 |
3.8 |
45 |
|
G40-2 |
960 |
12 |
1.2 |
5.5 |
120 |
80 |
65 |
3.8 |
45 |
|
G50-1 |
960 |
20 |
0.6 |
5.5 |
60 |
100 |
80 |
5 |
50 |
|
G50-2 |
960 |
20 |
1.2 |
7.5 |
120 |
100 |
80 |
5 |
50 |
|
G60-1 |
960 |
30 |
0.6 |
11 |
60 |
125 |
100 |
6 |
60 |
|
G60-2 |
960 |
30 |
1.2 |
15 |
120 |
125 |
100 |
6 |
60 |
|
G70-1 |
960 |
45 |
0.6 |
15 |
60 |
150 |
125 |
8 |
70 |
|
G70-2 |
720 |
45 |
1.2 |
18.5 |
120 |
150 |
125 |
8 |
70 |
|
G85-1 |
720 |
65 |
0.6 |
15 |
60 |
150 |
150 |
10 |
80 |
|
G105-1 |
500 |
100 |
0.6 |
22 |
60 |
200 |
200 |
15 |
110 |
|
G135-1 |
400 |
150 |
0.6 |
37 |
60 |
250 |
250 |
20 |
150 |
注意:1、性能表的試驗數據以20℃的清水為介質,粘度是1mm2/s。
2、當泵輸送高粘度式有顆粒的介質時,根據介質的性質。泵的轉速必須不同。
3、當泵輸送不同的磨損性介質時,泵的轉速也必須不同。
【G型單螺桿泵】輸送方式:
【G型單螺桿泵】橡膠套的選擇:
G型單螺桿泵橡膠套的選擇 螺桿泵襯套為橡膠制品,也是單螺桿泵的一個易損件,它的選擇好壞,直接影響襯套的壽命,一般正常情況下襯套的壽命為3-6個月,如果選用不當,襯套可能從鋼管中脫落或橡膠掉塊。所以要求我們對橡膠的基本特性及橡膠對各種不同介質的適應性有所了解,根據我們的經驗列出表四、表五。
表四:橡膠基本特性
|
橡膠特性 |
丁晴橡膠NBR |
氯丁橡膠CR |
氟橡膠PPM |
乙丙橡膠EPDM |
|
耐Z高溫度 |
+120°C |
+110°C |
+200°C |
+150°C |
|
耐磨性 |
優 |
很好 |
優 |
很好 |
|
耐老化性 |
很好 |
很好 |
優 |
優 |
|
耐臭氧 |
不行 |
優 |
優 |
優 |
|
耐蒸汽 |
很好 |
不行 |
優 |
優 |
|
耐燃性 |
很好 |
優 |
優 |
優 |
表五:單螺桿泵的襯套常用橡膠
|
橡膠的適應性 |
乙丙橡膠EPDM |
氟橡膠PPM |
氯丁橡膠CR |
丁晴橡膠NBR |
|
水(污水) |
很好 |
很好 |
很好 |
很好 |
|
植物油 |
一般 |
很好 |
一般 |
很好 |
|
礦物油 |
不行 |
很好 |
一般 |
很好 |
|
氨水 |
一般 |
不行 |
不行 |
很好 |
|
芳香族溶劑 |
不行 |
很好 |
不行 |
不行 |
|
濃堿 |
很好 |
不行 |
很好 |
很好 |
|
濃硝酸 |
不行 |
一般 |
不行 |
不行 |
|
冰醋酸 |
不行 |
很好 |
不行 |
很好 |
|
稀硫酸 |
很好 |
很好 |
不行 |
很好 |
|
濃硫酸 |
一般 |
很好 |
不行 |
不行 |
|
稀鹽酸 |
很好 |
很好 |
很好 |
很好 |
|
濃鹽酸 |
很好 |
很好 |
不行 |
很好 |
|
熱水 |
很好 |
不行 |
不行 |
一般 |
|
汽油 |
不行 |
很好 |
一般 |
很好 |
|
甲苯 |
不行 |
很好 |
不行 |
不行 |
|
二甲苯 |
不行 |
很好 |
不行 |
不行 |
|
乙醇 |
很好 |
很好 |
很好 |
一般 |
|
煤油 |
不行 |
很好 |
很好 |
很好 |
|
柴油 |
不行 |
很好 |
不行 |
很好 |
|
氯化烴 |
不行 |
一般 |
不行 |
不行 |
|
含酮類物料 |
很好 |
不行 |
不行 |
不行 |
|
含醇類物料 |
很好 |
很好 |
很好 |
很好 |
|
含脂類物料 |
很好 |
不行 |
不行 |
不行 |
|
含醚類物料 |
很好 |
不行 |
不行 |
不行 |
|
泥漿 |
很好 |
一般 |
一般 |
很好 |
|
磷酸 |
很好 |
一般 |
很好 |
一般 |
|
碳酸鈉 |
很好 |
不行 |
很好 |
很好 |
|
糖醛 |
很好 |
一般 |
一般 |
一般 |
|
苯100 |
不行 |
很好 |
不行 |
不行 |
|
丙酮 |
很好 |
不行 |
不行 |
不行 |
|
亞麻子油 |
很好 |
很好 |
很好 |
很好 |
|
二硫化碳 |
不行 |
很好 |
不行 |
不行 |

